Працюємо ПН-ПТ 9-17 год, СБ 10-14, НД - вихідний 

Feron Світлодіодний вбудований світильник Feron AL706 24Вт 4000K білий

Код: 5557990
288 грн.
В наявності
По факту доставки
Купити в кредит
Безготівка з ПДВ
уточняйте по телефону
Повернення/обмін
14 днів
Сервіси
Встановлення
Під час доставки
Сертифікована гарантія

Опис

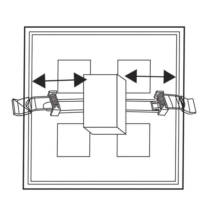
Вбудований світлодіодний светильник Feron AL706 24WСвітлодіодний світильник Feron AL706 - це сучасний світильник типу Frameless, що може використовуватися для освітлення як житлових, так адміністративно-офісних приміщень, готелів, кафе, ресторанів тощо. Основні переваги світильника: Дизайн та конструкція. Безрамковий корпус світильника виглядає цільною конструкцією без зайвих елементів. Об'ємний та водночас тонкий плафон забезпечує бокове свічення торцевої частини світильника, що збільшує кут розсіювання світла - 180°. Зручність монтажу. Модель обладнана механізмом регулювання вбудованного розміру світильника. Він має вдоскналену конструкцію, у порівнянні з моделлю АL704, та забезпечує надіну фіксацію і зручний режим регулювання самого механізму. Надійний драйвер. Світильник оснащений якісним вбудованим драйвером, що забезпечує стабільну роботу світильника в діапазоні напруг 85-265V та додатково оснащений захистом від імпульсних перенавантажень. Економічність. Сучасний світлодіодний світильник, що дозволяє зекономити до 90% електроенергії у порівнянні зі звичайними настільними лампами. Комфортне світло. Забезпечує комфортне, якісне, екологічне та безпечне для очей освітлення. Якість конструкції. Висока якість матеріалів та збірки. Розсіювач виконаний з якісного полікарбонату з високою термостійкістю. Ресур роботи. 30 000 годин Технічні характеристики можуть змінюватися в залежності від партії

Технічні характеристики

Колірна температура
Кольоропередача
Матеріал
Напруга, В
Потужність, Вт
Розмір
Світловий потік, лм
Сумісність з димерами
ні
Функція діммування
ні
Гарантія
* Зовнішній вигляд, характеристики та комплектація товару можуть змінюватися виробником без попередження. Детальну інформацію уточнюйте у менеджера з продажу або на офіційному сайті виробника.
Якщо Ви помітили помилку в описі повідомте нам, будь ласка.

Відгуки 0

Рейтинг:
Антиспам.
Введіть слово - tehnostar
Популярні моделі:
Переглянуті товари:
Стельові світильники
420 грн
Стельові світильники
460 грн
Вгору